4-9 溶接 premium 視聴履歴 前の動画 次の動画 溶接の種類 溶接には、次のような種類があります。 溶接継手 溶接を使った接合の方法を [ 溶接継手 ] といいます。下にあげたものが主な種類です。代表的なのは「突合わせ継手」で、2 つの部材を突き合わせた状態で溶接するものです。 図面への描き方 • 溶接記号 溶接を図面に描き表す場合は、圧力容器など安全性が法律で規定されているもの以外は[溶接記号]で表します。下図は、すみ肉溶接とその溶接記号です。 溶接記号は[説明線]と[基本記号]に分かれています。説明線は、“基線”と“矢”で構成されています。特別な指示のある場合には“尾”がつきますが、必要なければ省略できます。矢で溶接の位置を指示します。たとえば、矢のさす位置が反対側であれば、そちら側を溶接することになります。 • 基本記号 ○ 基本記号は溶接部の形状を表している ○ 基本記号が基線の上にある場合は反対側を溶接 ○ 基本記号の前の数字は溶接部の断面寸法を表している ○ 基本記号の後の数字は溶接長さを表している ○ 反対側の寸法を表すときは基線の上に描く ○ 両側を溶接するときは基線の上下に描く ○ その他の基本記号の場合 • 開先の種類 この例は、開先深さ16mm、開先角度60°ルート間隔2mmのV形グループ溶接です。開先は、溶接の強度を上げるためにつけるものです。V形の他に、以下のような形状があります。 ○ X形グルーブ溶接 ○ K 形グルーブ溶接 ○ U 形グルーブ溶接 • 開先深さ・角度・ルート間隔 • スポット溶接の図示 スポット溶接の記号は上図のように描きます。基本記号の下の横線は、溶接部の表面が平であることを示します。上図では、基線の下側にかかれていますから、矢印側に表面が平らな電極を用いるということです。また、[(2)-75]は「75mm間隔で2ケ所溶接する」ということを指示しています。溶接の数が多い場合には、下図のように指示します。 コメント 機械要素 4-1 ねじ 4-1 練習問題 その1… 4-2 キー 4-2 練習問題 その2… 4-3 ピン 4-4 リベット 4-5 止め輪 4-6 軸受 4-7 歯車 4-8 ばね 4-9 溶接 4-9 練習問題 その3…
溶接の種類
溶接には、次のような種類があります。
溶接継手
溶接を使った接合の方法を [ 溶接継手 ] といいます。下にあげたものが主な種類です。代表的なのは「突合わせ継手」で、2 つの部材を突き合わせた状態で溶接するものです。
図面への描き方
• 溶接記号
溶接を図面に描き表す場合は、圧力容器など安全性が法律で規定されているもの以外は[溶接記号]で表します。下図は、すみ肉溶接とその溶接記号です。
溶接記号は[説明線]と[基本記号]に分かれています。説明線は、“基線”と“矢”で構成されています。特別な指示のある場合には“尾”がつきますが、必要なければ省略できます。矢で溶接の位置を指示します。たとえば、矢のさす位置が反対側であれば、そちら側を溶接することになります。
• 基本記号
○ 基本記号は溶接部の形状を表している
○ 基本記号が基線の上にある場合は反対側を溶接
○ 基本記号の前の数字は溶接部の断面寸法を表している
○ 基本記号の後の数字は溶接長さを表している
○ 反対側の寸法を表すときは基線の上に描く
○ 両側を溶接するときは基線の上下に描く
○ その他の基本記号の場合
• 開先の種類
この例は、開先深さ16mm、開先角度60°ルート間隔2mmのV形グループ溶接です。開先は、溶接の強度を上げるためにつけるものです。V形の他に、以下のような形状があります。
○ X形グルーブ溶接
○ K 形グルーブ溶接
○ U 形グルーブ溶接
• 開先深さ・角度・ルート間隔
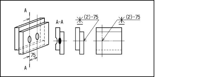
• スポット溶接の図示
スポット溶接の記号は上図のように描きます。基本記号の下の横線は、溶接部の表面が平であることを示します。上図では、基線の下側にかかれていますから、矢印側に表面が平らな電極を用いるということです。また、[(2)-75]は「75mm間隔で2ケ所溶接する」ということを指示しています。溶接の数が多い場合には、下図のように指示します。
コメント