2-5 断面の図示 premium 視聴履歴 前の動画 次の動画 1つの平面で切断して図示する方法 • 全断面図 断面は、原則として基本中心線を通る面で切断した面で表します。部品全体をこの面で切断して図示する方法を、全断面図といいます。 必要がある場合には、基本中心線でないところで切断した面で表すこともできます。この場合は、必ず切断線を引きます。基本中心線と区別するため、切断線の両端を太い実線で描き、見る方向を矢印で示します。 • 片側断面図 上下または左右対称な部品では、半分だけを断面で示し、他の半分は外形で表すことができます。このような方法を、片側断面図といいます。 • 部分断面図 必要な場所だけを破って断面を示すこともできます。この場合には破断線によって破断部を示しておきます。この方法は、断面で表す必要のある部分が狭いときや、切断してはいけないものの内部を特に示すときなどに使われます。 • 回転図示断面図 ハンドル、車などのアーム及びリム、リブ、フック、軸、構造物の部材などの切り口は、次のように 90°回転して表してもよい。切断箇所の前後を破断して、その間に描く場合は下図のようになる。 切断線の延長線上に描く場合は下図のようになる。 切断線の延長に描けない場合には、アルファベットの記号(例:AA)を加え、断面図に「A-A」と注意書きを添える。 図形内の切断箇所に重ねて、細い実線を用いて描く。 組み合わせた2つ以上の平面で切断して図示する方法 2つ以上の切断面による断面図を組み合わせて行う断面図示は、次による。なお、これらの場合、必要に応じて断面を見る方向を示す矢印及び文字記号を付ける。 対象形又はこれに近い形の対象物の場合には、対称の中心線を境として、その片側を投影面に平行に切断し、他の側を投影面とある角度をもって切断することができる。この場合、後者の断面図は、その角度だけ投影面のほうに回転して図示する。 断面図は、平行な二つ以上の平面で切断した断面図の必要部分だけ合成して示すことができる。この場合、切断線によって切断の位置を示し、組み合わせによって断面図であることを示すために、二つの切断線を任意の位置につなぐ。 曲管などの断面を表す場合には、その曲管の中心に沿って切断し、そのまま投影することができる。 断面図は、必要に応じてこれらの方法を組み合わせて表してもよい。 切断面の表現の仕方 説明用の図面や複雑な図面では、断面であることをわかりやすくするために、断面部にハッチングを施しますが、ハッチングにはかなりの手数を要するので、断面であることが明らかな場合は省略しても構いません。ハッチングの代わりに、スマッジングという薄く塗る方法がありますが、スマッジングは電子複写への配慮から、1999年のJIS製図規格から削除されています。 • ハッチング • スマッジング 複数の部品が隣り合っているような場合には、ハッチング の線の向きや間隔を変えて区別しています。 切断してはいけないもの 切断したために理解を妨げるもの(例1)、又は切断しても意味がないもの(例2) は、長手方向に切断しない。 例1)リブ、アーム、歯車の歯 例2) 軸、ピン、ボルト、ナット、座金、小ねじ、リベット、キー、鋼球、円筒ころ • 長手方向に切断してはいけないもの ボルト・ナット・座金・小ねじ・止めねじ・ピン類・リベット・軸・キー・リブ・車のアーム・歯車の歯 軸受けのたま、ころ ……等 ○ 止めねじ ○ キー ○ テーパピン ○ スラスト玉軸受け ○ ころ軸受け 薄板・非金属材料などの断面表示 ○ 薄肉部の断面図 ガスケット、薄板、形鋼などで、切り口が薄い場合には、断面の切り口を黒く塗りつぶして表すことができる。 実際の寸法にかかわらず、1本の極太の実線で表した場合。 なお、いずれの場合にも、これらの切り口が隣接している場合には、それを表す図形の間(他の部分を表す図形との間も含む)に、わずかなすき間をあける。ただし、このすき間は0.7mm以上とする。 ○ 非金属材料の断面表示法 非金属材料の断面で、特に材料を示す必要がある場合には、なるべく下図の表示方法に従って描いてください。なお、部品図には、材質を別に文字で記入します。 コメント 図形の表し方 2-1 正面図の選び方 2-2 平面図、側面図などの選び方 2-3 対称図形 2-4 局部投影図と補助投影図 2-5 断面の図示 2-6 特殊な図示法 2 練習問題 その1…
1つの平面で切断して図示する方法
• 全断面図
断面は、原則として基本中心線を通る面で切断した面で表します。部品全体をこの面で切断して図示する方法を、全断面図といいます。
必要がある場合には、基本中心線でないところで切断した面で表すこともできます。この場合は、必ず切断線を引きます。基本中心線と区別するため、切断線の両端を太い実線で描き、見る方向を矢印で示します。
• 片側断面図
上下または左右対称な部品では、半分だけを断面で示し、他の半分は外形で表すことができます。このような方法を、片側断面図といいます。
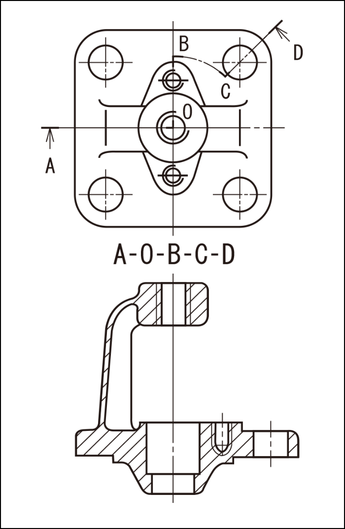
• 部分断面図
必要な場所だけを破って断面を示すこともできます。この場合には破断線によって破断部を示しておきます。この方法は、断面で表す必要のある部分が狭いときや、切断してはいけないものの内部を特に示すときなどに使われます。
• 回転図示断面図
ハンドル、車などのアーム及びリム、リブ、フック、軸、構造物の部材などの切り口は、次のように 90°回転して表してもよい。切断箇所の前後を破断して、その間に描く場合は下図のようになる。
切断線の延長線上に描く場合は下図のようになる。
図形内の切断箇所に重ねて、細い実線を用いて描く。
組み合わせた2つ以上の平面で切断して図示する方法
2つ以上の切断面による断面図を組み合わせて行う断面図示は、次による。なお、これらの場合、必要に応じて断面を見る方向を示す矢印及び文字記号を付ける。
対象形又はこれに近い形の対象物の場合には、対称の中心線を境として、その片側を投影面に平行に切断し、他の側を投影面とある角度をもって切断することができる。この場合、後者の断面図は、その角度だけ投影面のほうに回転して図示する。
断面図は、平行な二つ以上の平面で切断した断面図の必要部分だけ合成して示すことができる。この場合、切断線によって切断の位置を示し、組み合わせによって断面図であることを示すために、二つの切断線を任意の位置につなぐ。
曲管などの断面を表す場合には、その曲管の中心に沿って切断し、そのまま投影することができる。
断面図は、必要に応じてこれらの方法を組み合わせて表してもよい。
切断面の表現の仕方
説明用の図面や複雑な図面では、断面であることをわかりやすくするために、断面部にハッチングを施しますが、ハッチングにはかなりの手数を要するので、断面であることが明らかな場合は省略しても構いません。ハッチングの代わりに、スマッジングという薄く塗る方法がありますが、スマッジングは電子複写への配慮から、1999年のJIS製図規格から削除されています。
• ハッチング
• スマッジング
複数の部品が隣り合っているような場合には、ハッチング の線の向きや間隔を変えて区別しています。
切断してはいけないもの
切断したために理解を妨げるもの(例1)、又は切断しても意味がないもの(例2) は、長手方向に切断しない。
例1)リブ、アーム、歯車の歯
例2) 軸、ピン、ボルト、ナット、座金、小ねじ、リベット、キー、鋼球、円筒ころ
• 長手方向に切断してはいけないもの
ボルト・ナット・座金・小ねじ・止めねじ・ピン類・リベット・軸・キー・リブ・車のアーム・歯車の歯 軸受けのたま、ころ ……等
○ 止めねじ
○ キー
○ テーパピン
○ スラスト玉軸受け
○ ころ軸受け
薄板・非金属材料などの断面表示
○ 薄肉部の断面図
ガスケット、薄板、形鋼などで、切り口が薄い場合には、断面の切り口を黒く塗りつぶして表すことができる。
実際の寸法にかかわらず、1本の極太の実線で表した場合。
なお、いずれの場合にも、これらの切り口が隣接している場合には、それを表す図形の間(他の部分を表す図形との間も含む)に、わずかなすき間をあける。ただし、このすき間は0.7mm以上とする。
○ 非金属材料の断面表示法
非金属材料の断面で、特に材料を示す必要がある場合には、なるべく下図の表示方法に従って描いてください。なお、部品図には、材質を別に文字で記入します。
コメント