2-2 平面図、側面図などの選び方 premium 視聴履歴 前の動画 次の動画 正面図以外の補足 正面図以外の補足の図は、部品の形状が明瞭に図示できれば、できるだけ少なくします。 正面図だけで全体がわかる場合は、他の図を描く必要はありません。 多くの場合、正面図と平面図、または正面図と左右側面図のどちらか、という2面図の組み合わせで間に合います。 下図のような横に長い部品の場合、「良くない例」のように右側面図と組み合わせると、かくれ線を使わずに済みます。しかし、対照箇所が離れ過ぎているため、比較するのに不便です。このような場合には、かくれ線が現われても、「良い例」のように左側面図を使用したほうが良いでしょう。 「良くない例」 「良い例」 どのような場合でも、「見る人の立場に立って考える」ことが重要です。 コメント 図形の表し方 2-1 正面図の選び方 2-2 平面図、側面図などの選び方 2-3 対称図形 2-4 局部投影図と補助投影図 2-5 断面の図示 2-6 特殊な図示法 2 練習問題 その1…
正面図以外の補足
正面図以外の補足の図は、部品の形状が明瞭に図示できれば、できるだけ少なくします。
正面図だけで全体がわかる場合は、他の図を描く必要はありません。
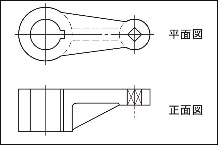
多くの場合、正面図と平面図、または正面図と左右側面図のどちらか、という2面図の組み合わせで間に合います。
下図のような横に長い部品の場合、「良くない例」のように右側面図と組み合わせると、かくれ線を使わずに済みます。しかし、対照箇所が離れ過ぎているため、比較するのに不便です。このような場合には、かくれ線が現われても、「良い例」のように左側面図を使用したほうが良いでしょう。
「良くない例」
「良い例」
どのような場合でも、「見る人の立場に立って考える」ことが重要です。
コメント